Предполагается, что очки дополненной реальности Google Glass через пару лет откроют новую категорию мобильных устройств с новыми возможностями и новыми принципами управления. Велика вероятность и того, что многие из этих принципов управления будут позаимствованы у теперешних смартфонов и планшетных компьютеров, это коснется и функций разблокировки, только со спецификой очков. А пока Google оформляет соответствующие патенты.

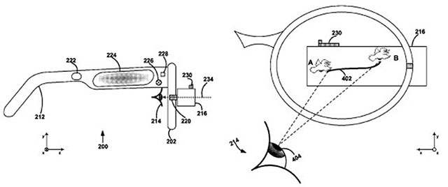
На сей раз Google получила патент на функцию разблокировки экрана, которая использует данные с модуля, отслеживающего положение зрачков пользователя. Это значит, что для разблокировки устройства нужно будет закатить глаза. Документ предусматривает и более сложные, а значит, и более надежные схемы, использованные прежде в Android-смартфонах. Так, пользователь может установить определенную последовательность движений глаз, которая приводит к нужному результату. Например, Google Glass разблокируются только после того, как пользователь посмотрит влево, потом вправо и вверх. В противном случае устройство останется в неактивном режиме. В патенте говорится об абстрактной носимой компьютерной системе, но речь, очевидно, идет именно о Google Glass. Во всяком случае, альтернатив у интернет-гиганта пока нет.